特征库升级失败
一、故障现象
防火墙特征库升级失败
二、组网拓扑
三、可能原因
- 防火墙没有激活授权文件
- 防火墙版本过低,老版本不支持部分UTM功能
- 防火墙未联网,离线库文件升级错误
四、处理步骤
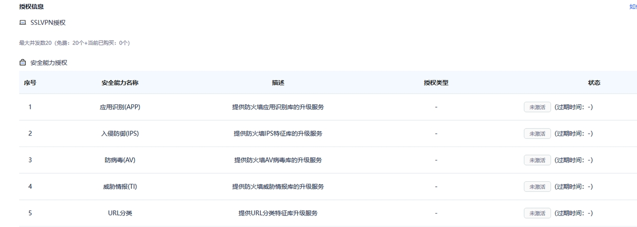
步骤一:检查防火墙授权状态
系统管理---系统设置---授权管理界面,可查看到防火墙当前的授权状态,下图表示所有UTM功能都未授权,UTM未授权情况下,对应的特征库均无法升级。
步骤二:检查防火墙的软件版本
如果防火墙版本低于R3,需要先升级版本(设备会重启)到最新,因为R3版本之前只支持IPS功能,其他UTM功能不支持,导入授权文件的时候会报错。
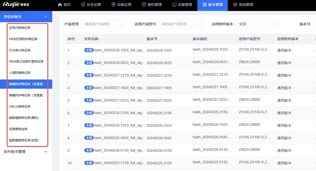
步骤三:离线库升级失败
各个类型的特征库可从下图位置分别下载并导入。

五、信息收集
1、防火墙授权信息界面截图
2、一键故障信息导出
如上述步骤无法定位解决点击链接转:售后闪电兔 处理